电磁干扰滤波器,又名“EMI滤波器”是一种用于抑制电磁干扰,特别是电源线路或控制信号线路中噪音的电子线路设备。
通过3D打印,波音实现更强大的电磁干扰滤波器冷却装置,从而提升了电气系统的安全性。
EMI滤波器可以包括多个部件,包括电感器(或扼流圈)和电容器。电感器可以包括缠绕在环形磁芯周围的绝缘导线。通过的电流使电感器发热,高温会降低电子设备的性能和效率,有时候还会损坏设备和滤波器扼流圈本身。
更强大的电磁干扰滤波器冷却装置用于飞机上的电子器件散热。来源:波音
目前市场上通常的解决方案是将过滤器封装在电灌封材料中并在表面上吹冷空气来维持EMI滤波器的适当操作温度。然而,随着电气元件的空间减小,仅通过气流维持所需温度变得越来越困难。因此,需要新的解决方案来提供更有效的冷却方式。
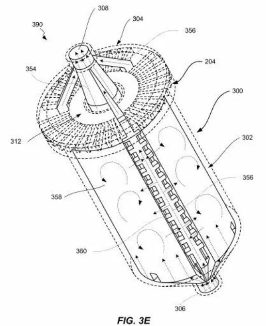
根据3D科学谷的市场研究,波音通过3D打印技术在制造电磁干扰滤波器冷却装置方面实现了创新,并申请了专利。这种新设计的冷却装置包括一个或多个外部腔室,一个或多个中央流动通道和外围流动通道。
其中,一个或多个外部腔室可以围绕EMI滤波器的外表面。而外围流动通道可以延伸电磁感应过滤器外部的长度,外围流动通道可以设置在腔室之间并且通向腔室外部。
壳体的材料可以是聚醚醚酮(PEEK),G-10玻璃纤维或铝合金,壳体还可包括基部和帽部,基部和帽部可以夹在一起包围EMI滤波器。主腔可以由基部的中心结构和基部的外围结构形成。
周边的流动通道可以围绕冷却装置的纵向轴线对称地设置。中央流动通道也可围绕冷却装置的纵向轴线对称设置或围绕纵向轴线对称地偏移。
冷却流体可包括液氮,可以将液氮的温度保持在一定范围内,使得在冷却装置内不会发生从液态到气态的完全相变。
3D科学谷在《3D打印产业化机遇与挑战白皮书》中提到热交换器将是下一个产业化领域。而究竟3D打印将在热交换器的产业化方面达到怎样的影响力和覆盖面,这不仅仅取决于3D打印设备,材料的价格,还取决于工艺质量是否能够达到一致可控,以及标准与认证的完善,而最重要的是如何从设计端获得以产品功能实现为导向的正向设计突破。
根据3D科学谷《3D打印与换热器及散热器白皮书》,通过应用3D打印技术,降低了热传导路径的热阻,同时保持或降低了系统的重量。
在以产品功能实现为主导的正向设计方面,热交换器和散热器方面,正在发生产品设计层面上的不断的创新,这些创新将以商业化实现的方式提升人类热管理的效率和能力。
而根据3D科学谷的市场观察,不少的公司在3D打印热交换器和散热器方面获得了进展。其中包括在航空航天领域的GE、雷神公司、诺思罗普·格鲁曼公司、Unison Industries公司;在汽车领域的HiETA Technologies与雷尼绍合作开发的换热器,Conflux所开发的新型高效热交换器ConfluxCore以及菲亚特克莱斯勒(FCA汽车集团)开发的铝制散热器;在IT电子领域微软、IBM、Ebullient LLC等公司开发的微处理器冷却解决方案以及热管理系统。
参考资料:
US10136557B2 Thermal management systems and methods for heat generating electronics
US10107555B1heat_exchanger_assembly_unison_industries
US10398059B2_system and method for cryogenic cooling of electromagnetic induction filter_boeing
- – - – - -
更多3D打印行业发展态势,敬请参加TCT深圳展(2019年10月15-17)期间的论坛,详细倾听3D打印领域的分析专家Chris Connery (CONTEXT公司全球副总裁),Filip Geerts(欧洲机床工业及相关制造技术协会总干事), 王晓燕 (3D科学谷创始人)共同为您带来的全方位的剖析与灼见。
报名论坛并缴费,请即刻扫描图片上方二维码
《3D打印与工业制造》登陆京东网上书店,点击微课视频收看超过11万人观看的3D科学谷创始人微课。
资料下载,请加入3D科学谷3D产业链QQ群:529965687
更多信息或查找往期文章,请登陆www.3dsciencevalley.com,
在首页搜索关键词 网站投稿请发送至2509957133@qq.com









