2019年4月,国内进口的全球首台3D打印微孔预混9HA燃气轮机在天津港保税区临港区域大沽口港区抵津接卸,天津的居民和企业将享受9HA燃机带来的清洁、高效能源。而在这清洁高效能源的背后,金属3D打印被应用到燃烧系统的设计优化方面。金属3D打印所实现了更复杂的几何形状,使得工程师可以改进燃气轮机中的燃料和空气的预混合,以实现最大的发电效率。
本期,3D科学谷结合GE于2019年9月17日最新专利《Premixer for Gas Turbine Combustor》来与谷友进一步了解3D打印预混合器的奥妙所在。
在燃气涡轮发动机中,可燃材料(例如,与空气混合的燃料)在燃烧器中燃烧,产生高能燃烧流体。燃烧流体经由过渡管道被引导至涡轮机,其中燃烧流体在空气动力学上与涡轮机叶片相互作用,从而使它们旋转。涡轮机可通过一个或多个轴联接到压缩机,使得涡轮机的旋转叶片驱动压缩机。涡轮机可用于发电,为负载供电或一些其他用途。
可燃材料在燃气涡轮发动机的燃烧器中燃烧以形成高能燃烧流体,其被引导至涡轮机。在涡轮机中,燃烧流体在空气动力学上与叶片相互作用,从而使涡轮机的叶片旋转。通过将燃料更彻底地混合到供应到燃烧器的压缩空气中,可以实现更完全的燃烧反应,从而减少燃料消耗并减少废气排放。
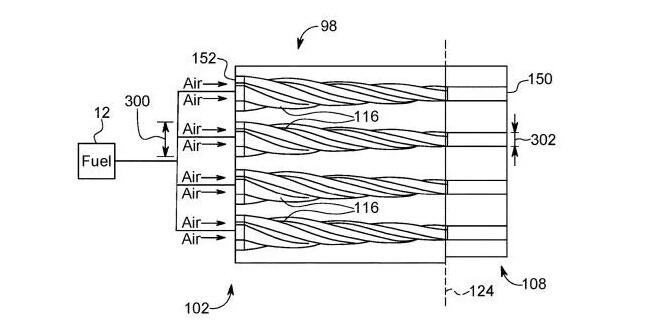
通过使压缩空气和燃料通过预混合器,预混合器制造涡旋运动,离开预混合器的燃料 – 空气混合物可以更彻底地混合。预混合器可包括多个流体流动路径,其中每个流动路径具有叶状横截面,横截面沿着流动路径的长度扭转,在流过流动路径的流体中引起涡旋运动,从而更彻底地混合燃料和压缩空气。而流动路径的横截面的尺寸可沿着流动路径的长度收缩,从而产生锥形流动路径。
3D打印预混合器的侧面透视图。来源:US10415833B2
3D打印技术使得制造复杂形状的预混合器成为现实,预混合器带来的旋涡运动有助于使液体燃料与空气雾化和混合,使得除了气体燃料之外还能够使用液体燃料。并且可以产生喷射稳定的火焰,带来较低的动态性和较高的火焰稳定裕度,而高出口速度可用于减少或消除火焰回火风险。
如果说GE能源是个产品众多的“大家族”,那么这其中集万千宠爱于一身的“公主”,一定非哈丽特(Harriet)莫属。她重达八十万磅,体型惊人却青春洋溢,一出世便受到世人瞩目。她就是目前世界上最大最高效的重型燃气轮机——GE 9HA重型燃气轮机。
通过3D打印技术制造优化的关键零件,从而提升设备的整体性能,GE已经体验到了3D打印技术“四两拨千斤”的价值放大效应。
而不仅仅是GE,根据3D科学谷的市场观察,西门子已经成功地为SGT-A05航改式燃气轮机降低了排放量,通过3D打印干式低排放(DLE)预混合器获得了令人印象深刻的结果,显示出可显着降低CO排放。这一成就进一步巩固了西门子世界领先的增材制造创新应用以及其能源领域的地位。
西门子开发的SGT-A05燃气轮机的3D打印干式低排放(DLE)预混合器。来源:西门子
西门子通过3D打印制造这种特定燃气轮机部件所取得的成就是显着的。从概念到发动机测试,开发只用了七个月,这对于需要如此严格的公差并且在高负载和温度下工作的组件而言是令人印象深刻的。DLE预混合器非常复杂,使用传统的铸造和CNC机加工制造方法涉及20多个零件。通过使用西门子合格的镍基超级合金作为增材制造材料,3D打印预混合器部件仅需要两个部件组成,并且交付周期减少了约70%。
DLE预混合器的3D打印使西门子能够简化生产过程中的复杂性,减少供应链中的外部依赖性,并改善组件的几何形状,从而实现更好的燃料 – 空气混合。
参考资料:
US10415833B2_premixer for gas turbine combustor_20190917
- – - – - -
更多3D打印行业发展态势,敬请参加TCT深圳展(2019年10月15-17)期间的论坛,详细倾听3D打印领域的分析专家Chris Connery (CONTEXT公司全球副总裁),Filip Geerts(欧洲机床工业及相关制造技术协会总干事), 王晓燕 (3D科学谷创始人)共同为您带来的全方位的剖析与灼见。
报名论坛并缴费,请即刻扫描图片上方二维码
《3D打印与工业制造》登陆京东网上书店,点击微课视频收看超过13万人观看的3D科学谷创始人微课。
资料下载,请加入3D科学谷3D产业链QQ群:529965687
更多信息或查找往期文章,请登陆www.3dsciencevalley.com,
在首页搜索关键词 网站投稿请发送至2509957133@qq.com










