航空发动机作为航天飞行器的核心部件,决定发动机关键性能的涡轮叶片成为研究的重中之重。一台航空发动机的推动力与涡轮机前沿进气口温度密切相关,涡轮叶片的承温能力则决定了整台发动机的推动力,而提高涡轮叶片承温能力的方法主要有两种,一种是探索性能更优化更稳定的高温合金;另一种是探索具备复杂空心结构的叶片冷却技术。
本期,3D科学谷与谷友共同来领略GE于2020年9月15日获得通过的专利《turbine airfoil multilayer exterior wall》中所披露的如何通过增材制造实现更好的叶片冷却,其中涉及到通过增材制造制成的热气路径部件的多层壁。
降低涂层剥落危害
燃气涡轮系统包括具有多级涡轮,其叶片从支撑转子盘向外延伸,每个叶片包括暴露于热燃烧气体流中,叶片必须获得冷却以承受燃烧气体产生的高温。冷却不充分可能会导致叶片上产生不必要的应力和氧化,并可能导致疲劳和/或损坏。
带有复杂空心结构的叶片通常具有一个或多个内部冷却流回路,内部冷却流回路带有多个冷却孔等。冷却空气通过冷却孔排出,以向叶片的外表面提供冷却。其他类型的热气路径部件和其他类型的涡轮部件可以以类似的方式冷却。
尽管可以在给定组件在现场投入运行之前执行模拟仿真运算以确认冷却效果,但是由于特定于组件的热区和冷区或其任何区域可能达到的确切温度差异很大,特别地,运转过程中可能会受到过热的不利影响。结果,许多热气路径部件可能被过冷以补偿可能在部件上形成的局部热点。但是,这种过度的过冷可能会对整个运转和效率产生负面影响。
此外,尽管存在冷却通道,许多组件还依赖于施加在其外表面的隔热涂层(TBC)来保护组件。如果在热气通道部件的TBC中发生破裂(称为剥落),则该部件在剥落处的局部温度可能会升高到极限温度之外。剥落可能使热气路径部件的外壁暴露于高温流体,从而导致外表面氧化,从而缩短了热气路径部件的寿命。
一种解决TBC剥落的方法是在TBC下方的冷却孔中插入塞子。当发生剥落时,通常通过暴露于足以使塞子熔化的热量来移除塞子,冷却孔打开,并且冷却介质可以从流体耦合至冷却孔的内部冷却回路中流出。这个过程减少了过冷。然而,塞子的形成是复杂的,需要对材料进行精确的机械加工或精确的热处理或化学处理以形成塞子。
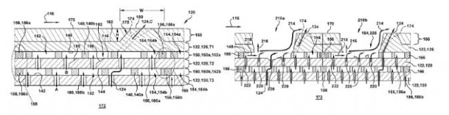
GE于2020年9月15日获得通过的专利《turbine airfoil multilayer exterior wall》公开了涡轮叶片具有多层的外壁的翼型设计。涡轮机翼的外壁的层可以间隔开以在其间形成冷却室。冷却室可各自通过在层之间延伸的分隔壁轴向地分隔成多个冷却室。
燃气轮机系统形式的热气路径部件。来源:US10774656B2
叶片外壁的外层可包括多个冷却通道,外层外表面上还可以施加隔热涂层(TBC)。除外层之外的外壁各层均可以包括多个冲击开口,以允许冷却流体在叶片中心腔室和其他冷却腔室之间流动。
GE的专利中显示,叶片外壁及其结构通过增材制造形成,例如PBF基于粉末床的选区金属熔化3D打印技术。
当隔热涂层(TBC)中的剥落使多层外壁的外层暴露于高温环境时,壁的结构允许冷却液流从涡轮机翼的中央腔室通过冷却腔室达在外层的内表面上,冷却流体还可以在暴露的外层的开口上方形成缝隙膜,以减慢暴露的外层的氧化。
3D科学谷Review
空心结构改进了原始涡轮叶片的冷却方式,这种结构能够有效提高涡轮叶片的承温能力,从而有效提高发动机的工作温度,这种更为高效的气冷方式是目前的研究重点。通过复杂气冷内腔结构改善涡轮叶片散热能力已成为先进发动机制造的关键。
除了PBF基于粉末床的选区激光熔化金属3D打印技术,陶瓷3D打印叶片型芯技术与叶片铸造的结合是另外一种曲径通幽的空心叶片制造方式。其中,举例来说,航空航天巨头法国赛峰集团已经长期使用Lithoz 陶瓷3D机生产叶片型芯。
Lithoz公司的LCM技术可以实现传统工艺无法完成的高复杂结构陶瓷产品的生产。LithaCore450是一种可以3D打印制备高精度、高细节陶瓷叶片型芯的材料。烧结后的叶片型芯产品具有非常低的热膨胀率、较高的孔隙率、优异的表面质量和优良的洗滤性等优点。
由于该技术无需模具,因此大大缩短了研发-市场阶段的周期。与传统的注射成型制造叶片型芯技术相比,3D打印技术是一种无需模具的生产制造技术。因此3D打印技术可以绕过传统工艺必须的、昂贵而又复杂的模具制造部分。
目前,国内外在空心叶片制造中使用比较普遍的主要有硅基和铝基陶瓷型芯。其中,相较于铝基陶芯烧结困难和不易脱芯等问题的存在,硅基陶瓷型芯以热膨胀系数小、稳定性好、表面光洁度高且易于脱芯等一系列优点,而广泛应用于国内外航空工业中。
正如ACAM中国董事王晓燕在《3D打印助力动力装备发展报告》提到的在涡轮发动机叶片的运转过程中,裂纹是叶片的致命缺陷,叶片的发展趋势是采用更耐高温的镍基合金,而且冷却设计越来越复杂,冷却效果的要求越来越高,同时采用高效的隔热涂层。而3D打印通过实现更均匀可控的晶体组织、更复杂的叶片冷却通道、与金属基体结合更紧密的隔热涂层,从而提升了叶片的性能,更有效的避免裂纹发生。
视频:Fraunhofer IWS 开发下一代更高效飞机发动机金属涂层
不过,值得注意的是,并非单独通过3D打印就可以完成这些使得工业制造领域“皇冠上明珠”-叶片这样的零件,3D打印与传统加工技术的配合是不可或缺的,在这方面,国际上GF 加工方案的增材制造解决方案致力于在车间真正实现端到端的集成,实现无缝和高效的工作流程的关键就是要对现有的软硬件环境做出调整,这是当前发挥3D打印潜力的另一块需要重视的能力建设。
总体来说,3D打印与传统加工工艺的配合,正在微观、介观等不同维度上助力实现更稳定、性能更强大的叶片,成就更加安全的飞行。
参考来源:US10774656B2
白皮书下载,加入3D科学谷QQ群:106477771
网站投稿请发送至2509957133@qq.com
欢迎转载,转载请注明来源3D科学谷,并链接到3D科学谷网站原文。











