全彩3D打印在设计领域正逐渐成为主流应用方向,纵观市面上的彩色3D打印机只有寥寥几个品牌,XYZprinting 作为其中之一,其推出的da Vinci Color 系列全彩3D打印机自面世以来已收到市场的广泛认可,专有的FDM+CMYK全彩3D打印机专利,已被业内广泛应用,而近日,XYZprinting另一项SLA 全彩3D打印专利在美国专利局网站公示。
2018年末,XYZPrinting已提交了一项专利,可以运用SLA技术打印多种颜色的物体。该专利详细介绍了依靠SLA技术的“自动上色技术”,该专利也是业内首次实现。
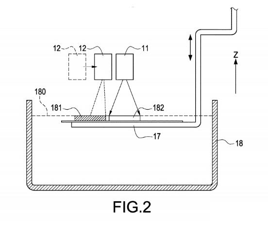
在新的SLA全彩专利中,颜色将通过安装在光模块旁边的上色模块添加。系统中的树脂是通明、无色的,色彩则通过液体喷雾方式添加至不同的打印位置。
三纬国际立体列印科技股份有限公司成立于2013年,从2015年已连续四年摘得3D打印机全球销量第一桂冠,全球市场占有率超过20%,3D打印技术专利拥有量全球第三,累积拥有量超过1000个。已开发的技术包含FDM、SLA、DLP、3DP、3D JET、SLS等,而三纬国际还在持续投入研发,在3D打印技术上持续突破。
XYZprinting da Vinci Color 全彩3D打印机采用FDM+CMYK技术,可将3,200万色彩完美呈现在3D打印物品的表面及内部,让色彩创意轻松实现。
文章来源:中国网
资料下载,请加入3D科学谷3D产业链QQ群:529965687
更多信息或查找往期文章,请登陆www.3dsciencevalley.com
在首页搜索关键词 网站投稿请发送至2509957133@qq.com











