Markforged是一家不断创新的企业,2016年,Markforged 公司推出了Mark Two的下一代产品-Mark X 3D打印机,该设备同样集成了Markforged 的连续纤维丝(CFF)3D打印技术。不过这项技术用于打印金属丝材的时候有一个业界公认的痛点那就是变形与收缩的控制挑战。
根据3D科学谷的市场研究,Markforged申请了专利,通过粘结剂、陶瓷材料3D打印技术用于控制3D打印的后处理过程中的烧结变形与收缩。
Markforged申请的专利通过将粘结剂、陶瓷材料作为分离层与支撑层一起打印完成,使得金属3D打印所获得的生坯具有更好的防止变形与热收缩控制。
三种材料的打印。Markforged 2020年2月11日获得公布的专利
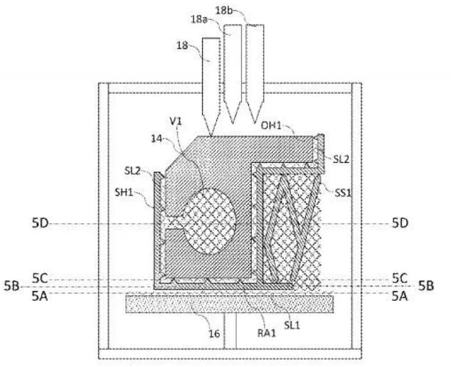
当然金属丝、粘接剂、陶瓷材料是通过独立的挤出头打印完成的,在典型的打印过程中,金属丝被熔融,沉积到平台上。当需要脱模隔离层的时候,粘结剂被3D打印出来,当需要支撑层的时候,陶瓷被逐层打印出来,从而对金属部分形成了一定的分割与支撑。
脱脂与烧结。Markforged 2020年2月11日获得公布的专利
随后是脱脂与烧结,在烧结过程中,生坯始终以均匀的速率收缩,使得整个形状保持可控,烧结后,脱模层可能会变成松散的粉末,同时通过烧结使得陶瓷粉末松散,并最终与金属部分脱离开来。
在间接金属3D打印领域,Markforged的直接竞争对手是Desktop Metal。根据3D科学谷的市场研究,Desktop Metal在2018年初宣布获得可分离支撑技术专利获批,而该技术可通过金属烧结和手工去除金属支撑结构,实现大型复杂零部件的3D打印加工制造。
通常在增材制造中通过支撑结构来扩展所制造的产品的几何特征,例如通过为悬伸结构提供底层支撑来实现更复杂的几何结构。
然而,当使用需要额外处理的支撑材料的时候(如需要额外的脱粘和烧结加工以获得最终的零部件),常规的支撑策略和技术会导致零部件加工的失败,例如支撑结构发生变形或收缩的时候会影响到零部件的结构,这时候就需要十分匹配的策略使得支撑结构不仅仅能起到加工过程中的支撑作用,还在随后的后处理中不影响零件的精度。
对于Desktop Metal的设备来说,专利中提到了一种在零部件和支撑结构之间制造界面层,以便在烧结期间抑制支撑结构和相邻的零部件表面之间的结合。
这涉及到了两种材料,第一材料是一种粘结剂体系,包括一种或多种粘结剂。在将零件加工成最终产品期间有助于保持零件的净形状,其中界面层在烧结期间抵抗支撑结构与零件的结合。
第二种材料包括粉末冶金材料。粉末材料可以是金属粉末,也可以是陶瓷粉末。还包括金属浸渗剂或陶瓷浸渗剂。
更好的变形与收缩控制,Markforged和Desktop Metal在材料方面的进步将进一步推动3D打印所催化的工业革命的到来。
3D科学谷对3D打印发展趋势有一个坚定的看法,那就是3D打印机与生产线的结合将迎来一个新时代:有一天,会出现雨后春笋般的小型工厂,这些小型工厂像社区一样更靠近消费者,工厂的运转通过软件管理,可以按需打印零件,而无需起订量的要求。这个新时代的新意不仅在于制造方式与商业模式的变化,更重要的是可以设计出比过去更轻、更便宜和更高效的零件。
根据3D科学谷的市场观察,不管是Markforged还是Desktop Metal,推动雨后春笋般小型工厂的出现,材料技术是核心发力点。
正如芯片对IT界带来的革命来说,大量单一功能聚合可以形成智慧,芯片让世界互联,万亿个像蜂巢一样相互连接的芯片是整个世界的硬件基础,而构建于其上的软件体系正是网络经济。我们生活的世界遍布互联芯片,整个星球的触觉从未如此灵敏过。如果拿芯片对IT带来的革命的迅速蔓延之势来比喻间接金属3D打印技术将为制造业带来的革命,那么这场革命的到来正在进行时。
参考资料:US10556384B2,US9815118B1,US9833839B2
资料下载,请加入QQ群529965687
白皮书下载,加入3D科学谷产业链QQ群:529965687
网站投稿请发送至2509957133@qq.com
欢迎转载,长期转载授权请留言









