压缩机是为冰箱提供压缩制冷剂的设备。冰箱利用这种压缩的制冷剂来冷却隔室以及其中存放的食品。近年来,线性压缩机被用于压缩冰箱设备中的制冷剂。
在压缩阶段或冲程结束时,气缸和阀的温度通常接近压缩的气态制冷剂的排放温度。根据气缸内部的气体温度,在压缩过程中传热方向可能会发生变化。某些情况下,气态制冷剂的高排放温度加热汽缸壁并导致汽缸中的气态制冷剂过热,从而导致压缩机效率降低。
根据3D科学谷的市场研究,海尔电器*受让的一项专利技术旨在通过优化设计压缩机系统以及冷却活塞来解决上述问题, 这一技术包括了一种可增材制造的带有冷却特征的活塞。
*欢迎在文后留言申请长期转载授权*
更好的传热
线性压缩机包括可滑动地容纳在气缸室内的活塞, 活塞在腔室内向后滑动以压缩制冷剂。定位在气缸盖中的阀可以控制制冷剂进出腔室。
压缩过程的压缩阶段或冲程结束时,气缸和阀的温度通常接近压缩的气态制冷剂的排放温度。根据气缸内部的气体温度,在压缩过程中传热方向可能会发生变化。例如,当气体温度低于气缸壁的温度时,热通量为正,并且热量从气缸壁传递到气态制冷剂。当气态制冷剂达到与气缸壁相同的温度时,热通量为零。当气体温度高于气缸壁的温度时,热通量为负,并且热量从气态制冷剂传递到气缸壁。传热方向的变化不仅发生在压缩阶段,而且发生在压缩过程的膨胀阶段或冲程。
在某些情况下,气态制冷剂的高排放温度加热汽缸壁,将导致汽缸中的气态制冷剂过热,从而导致压缩机效率降低。压缩机效率下降的幅度主要由气缸壁温度决定。而且,许多常规压缩机接近等熵压缩运行,此时,可以防止通常与更有效的过程(例如湿压缩)相关的某些问题,但等熵压缩的效率不如其他压缩过程(例如,等温压缩)高。因此,传统的压缩机通常不使用最大化压缩机效率的压缩过程来运行。
为解决以上问题,海尔电器受让的专利技术中提出了一种新的压缩机系统,该系统包括:冷却流体回路和可滑动地容纳在壳体的腔室内的活塞。
在这一压缩系统中,壳体限定入口通道和出口通道。入口通道接收冷却流体,如冷却液回路中的机油或制冷剂。冷却流体沿其外表面流入进气通道,并在下游流入由活塞限定的进气槽。冷却流体向下游流动到由活塞的活塞头限定的冷却通道,然后沿其外表面流入由活塞限定的出口槽。冷却液然后流入壳体的出口通道,并返回到冷却液回路。冷却流体通过通道,凹槽和通道的通道将热量从壳体和活塞带走。
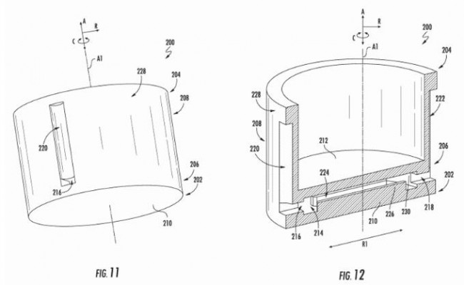
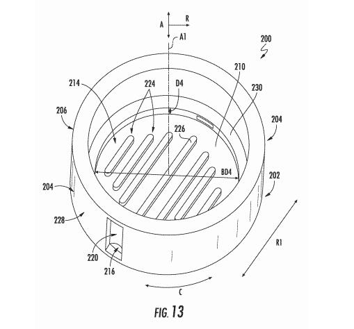
以上是在这一技术中所提及的活塞示意图。其中压缩组件和系统可以与线性压缩机一起使用。如图所示,活塞沿着轴向方向A在第一端(202)202和第二端(204)之间延伸。活塞具有大体位于第一端的活塞头和从活塞头延伸至活塞第二端的裙部。
多个散热片从第一壁沿着轴向方向A伸入冷却通道(214)中。散热片能够增加冷却流体可以接触的表面积,因此散热片增加了活塞和冷却液之间的热传递。
在图中所示的案例中,翅片沿着第一径向方向R1纵向延伸,并且沿着垂直于第一径向方向R1的方向彼此间隔开。与入口和出口径向对准的翅片的第一翅片具有翅片的最长径向长度。从第一翅片沿垂直于第一径向R1的方向向外延伸的每个连续鳍片的径向长度减小。翅片从第一壁突出到冷却通道中的距离小于深度D4。
在替代性设计方案中,翅片可以在第一壁和第二壁之间延伸。活塞可以通过3D打印技术制造,通过增材制造技术赋予设计的灵活性,翅片和限定冷却通道的活塞表面可以被设计为更加复杂的形状和表面光洁度,例如设计成为多孔或粗糙的表面。
3D科学谷Review
以上冰箱压缩机技术中所涉及的3D打印应用,仍属于3D科学谷多次谈到热管理领域的应用。由于设计自由度提升了,3D 打印热管理组件提供与传统制造组件相同或更高的效率,但需要的空间更少。这种制造技术可以应用更大的表面、复杂的几何形状和保形冷却通道。
此前,3D科学谷分享的保时捷汽车发动机活塞与先进重型柴油发动机活塞的增材制造应用,也是巧妙的利用了3D打印技术的优势对组件热管理性能进行设计优化。深入了解3D打印在热管理应用逻辑及潜力,请前往3D科学谷《3D打印与换热器及散热器应用2.0》或前往“谷研究”话题,了解更多热管理、热交换领域的增材制造应用。
备注:* 具体指海尔电器美国解决方案有限公司
本文参考资料:US10808646
白皮书下载,加入3D科学谷QQ群:106477771
网站投稿请发送至2509957133@qq.com
欢迎转载,转载请注明来源3D科学谷,并链接到3D科学谷网站原文。









