2019年GE航空集团以强劲业绩迎来了百年庆,年底未交付订单总量达2700亿美元,以及超过64000多台商用和军用发动机的总装机量。这些发动机的在役时间将长达几十年,也将由此不断带来可预见的收入。GE的团队正在不断向商用和军用发动机市场推出先进技术,以扩大市场占有率。
根据3D科学谷的市场研究,GE在将3D打印应用到发动机的创新方面不断精进,实现更好性能的发动机,从而带动了整个航空行业的附加值创造发展。
GE董事长兼首席执行官拉里·卡尔普在GE航空部件服务中心。来源:GE
近日,根据GE获得通过的专利US10605168B2,GE所创新的系统设计可以允许在相对于类似功率输出的其他燃气涡轮发动机,相对于现有的燃气涡轮发动机配置(例如涡轮风扇)增加高的旁通比和总压力比。GE所创新的系统通过改善旁通比和总压力比,从而增加总的燃气涡轮发动机效率。
高压涡轮机包括在燃烧部分和高压涡轮机转子之间的喷嘴导向叶片,喷嘴导向叶片用于加速离开燃烧部分的燃烧气体的流动,以沿着切线或圆周方向更紧密地匹配或超过高压涡轮转子速度。
常规的燃气涡轮发动机涡轮部分通常分别包括连续的固定和旋转翼型或叶片和叶片。该常规构造通常限制进入和离开叶片和叶片的每一级的燃烧气体的流动。然而,常规涡轮机部分,尤其是固定翼型件(即,叶片和喷嘴引导叶片)需要大量和大量的冷却空气,以避免由于热燃烧气体引起的损坏风险。
通常,喷嘴导向叶片被设计成承受沿着环空的最高燃烧气体温度(即热点),该最高燃烧气体温度可以明显大于沿着环空的平均燃烧气体温度。从而,传统的发动机被设计成使用来自压缩机部分的大量的冷却空气以减轻喷嘴导向叶片的结构损坏,磨损,劣化以及最终的维护和修理的可能性。然而,这种冷却空气不利地影响了整体发动机效率,性能,燃料消耗和可操作性,而这些能量原本可用于燃烧中以驱动涡轮,压缩机和风扇。
当确定燃气涡轮发动机需要进入维护和修理间隔时,喷嘴导向叶片通常是限制部件,从而限制了整体发动机性能和效率。
提高涡轮机区段效率的已知解决方案是使涡轮机区段的转子相互交叉的方案。例如,沿从纵向的上游端到下游端以串联流的方式配置涡轮段,该涡轮段具有喷嘴引导叶片,高压涡轮转子,另一个涡轮叶片级(即固定翼型),以及与低压涡轮机交错的中压涡轮机。另一个已知的解决方案是以串联流动的方式配置涡轮机部分,该涡轮机部分具有喷嘴导向叶片,高压涡轮机转子以及此后的各种水平的叉指式转子,包括低压,中压或高压涡轮机转子。
尽管有各种已知的解决方案,但是仍然需要设计能够使涡轮机部分朝向燃烧部分进一步相互交叉的结构。这就需要布置和操作涡轮截面轴承从而有效地使用压缩空气来进行轴承操作和发动机冷却。
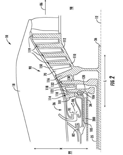
包括内罩112,外罩114,连接翼型件116,多个外罩翼型118,适用于增材制造-3D打印。来源: US10605168B2
GE所创新的系统设计消除了对第一涡轮叶片或喷嘴引导叶片的需要,燃烧气体可能仅暂时地承受燃烧热点的不利影响,而不是基本上持续地或恒定地暴露于燃烧气体中的较高温度。
由于减少了燃烧热点对涡轮机部分的不利影响,GE的设计能够进一步改善燃烧稳定性,减少排放物,减少稀薄井喷(LBO)。
创建一个高效运转的世界,GE的使命包含着更宏伟的目标。世界各地的社区都希望实现更可持续性的增长,GE凭借这对各地市场的长期洞察,在技术和融资领域深厚的专业知识,以及管理复杂全球供应链的能力,成为坚定的技术创新的使者。
GE9X-GE航空史上燃油效率最高的喷气式发动机
就在2020年1月25日(美国时间),搭载了两台GE9X发动机的波音777X飞机在华盛顿州埃弗雷特的佩恩机场起飞,顺利完成其首飞。GE9X将300多个发动机部件组合成7个3D打印的部件,其中包括能精确地让燃料和空气的混合物进入燃烧室的燃油喷嘴、低压涡轮叶片和热交换器。另一个是导流器,它能让发动机排出吸入的灰尘、沙子和其他碎片,延长发动机的使用寿命。这样创新的设计很难被制造出来,甚至于之前GE也从未在商用喷气发动机中使用过。
GE Catalyst-新型涡轮螺旋桨发动机
除了GE9X发动机,GE增材制造技术中心ATC的团队在和开发Catalyst的工程师们密切合作,这将是30年来首个从零开始设计的新型涡轮螺旋桨发动机,他们采用3D打印技术将数百个发动机零件组合成十几个左右的大部件。
随着GE获批的3D打印应用与发动机制造方面的专利越来越多,GE在这一3D打印+下一代发动机制造领域建立了新的高地,累积了更加充分的底气向其创建一个高效运转的世界的愿景进发。根据3D科学谷的市场研究,这一系列的获批专利包括:
更清洁的排放!GE燃气涡轮发动机的倾斜燃烧器专利
获批日:2020年3月24日
根据3D科学谷的市场研究,GE开发的燃气涡轮发动机的倾斜燃烧器,通过增加燃烧器的流路和预混合器的长度,同时减少压力损失,实现流动均匀性,并提高回流裕度以改善性能,耐用性和排放物输出(例如,减少的CO排放物)。GE开发的燃烧器组件的整体或一部分可以3D打印-增材制造来实现。材料包括高强度钢,镍和钴基合金或金属或陶瓷基复合材料,或其它材料组合。
GE 3D打印燃油喷嘴专利
获批日:2020年3月17日
为了实现更好的功能,GE设计出了一种理想的燃油喷嘴顶部结构。这个结构最终只有核桃般大小,里面却有14条精密的流体通道。GE通过3D打印-增材制造的燃料喷嘴具有多个优点。它提供了分流有效冷却的方法,并具有良好的空气动力学和声学特性。分析表明,中空分流器,螺旋形旋流叶片和复合角文丘里管在燃料喷嘴中组合使用时特别有利。
GE将3D打印应用于燃气轮机燃烧器的液体燃料盒组件制造
获批日:2020年3月3日
GE采用3D打印-增材制造技术例如基于粉末床的选区金属熔化增材制造系统或其他增材制造系统来制造尖端。3D打印的装置有助于将液体燃料引入发电燃气涡轮机燃烧器的头端中。该装置有助于通过中央定位的液体燃料盒来输送液体燃料(或液体燃料/水混合物)。
参考资料:
- US10605168B2
- US10598380B2
- US10591164B2
- US10578306B2
- US10415833B2
白皮书下载,加入3D科学谷产业链QQ群:529965687
网站投稿请发送至2509957133@qq.com
欢迎转载,长期转载授权请留言








