根据3D科学谷的市场观察,面对3D打印走向产业化制造的趋势,西门子正在打造一个全方位的针对3D打印的增材制造生态系统,在这个生态系统中,不仅包括增材制造设计实验室、增材制造工厂,还包括一套无缝集成的软件解决方案。
增材制造对西门子具有重要的战略意义,该技术是西门子的14个“核心技术”之一,增材制造设计实验室作为西门子增材制造能力的重要一环,为西门子增材制造零部件的生产提供支持。近日,西门子通过3D打印开发燃气涡轮发动机的燃烧器多孔部件专利(《Porous rotating machine component, combustor and manufacturing method》)获得通过。根据3D科学谷的市场观察,在这个专利中,西门子巧妙的通过金属3D打印过程中形成的多孔隙结构,制造出带有“海绵”特征的金属零件。

燃气涡轮发动机的燃烧器,可能受到燃烧动力学的影响,例如,受到如燃烧衬套振动的影响。燃烧动力学可导致部件的物理振动并产生噪声。为了抵消这种燃烧振动,通常在燃烧器中采用所谓的软壁、亥姆霍兹阻尼器或谐振器之类的辅助措施,这些辅助措施可抑制特定频率下的振动。
另外还需要注意避免设备本征频率(与设备的固有频率有关)与主要燃烧动力学频率之间的耦合。在开发过程中必须考虑这种不希望的耦合,从而导致更长的开发时间。
西门子通过3D打印开发燃气涡轮发动机的燃烧器多孔部件,试图减轻旋转机械部件的振动问题,特别是在燃烧装置内。根据西门子专利(《Porous rotating machine component, combustor and manufacturing method》),3D打印的燃气轮机燃烧部件包括至少一个包含多个孔的多孔材料制成的零件,这些孔是在增材制造过程中“埋设”在零件中的。
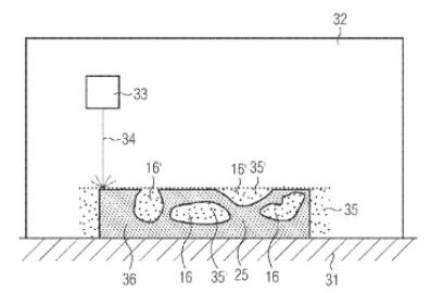
燃烧器件的多孔结构。来源:西门子专利(《Porous rotating machine component, combustor and manufacturing method》)
封闭在燃烧部件中的气体和粉末可以支持阻尼效果以抵消振动的发生。这是特别有利的,部件本身不需要再额外设置亥姆霍兹阻尼器或其他软壁特征,通过金属3D打印,仅通过修改部件的结构就可以获得想要达到的阻尼效果。
通过选区激光熔化金属3D打印,孔周围的壁限定了孔的形状以及空隙局部区域的形式,一些孔可以彼此连接,一些孔可以是不同的。孔可以被在激光熔化过程中存在的气体填充,粉末可以是未固化的粉末颗粒,这些被孔包裹起来。通过选区激光熔化技术,可以制造出没有出口或入口的完全封闭的孔,尽管有些孔可能与其他孔连接,以使它们建立更复杂的结构,但仍将其它和粉末完全包裹密封起来。
在许多孔中,气体和粉末填充孔的程度可以不同,这可以允许在更宽的频率范围内进行阻尼。
3D打印的多孔部件可以是燃烧衬套或在燃烧器或燃烧室内的其他部件,这些部件在运行期间会受到振动的影响。由于这些部件在操作过程中通常是高温部件,因此可能存在穿过零件的冷却通道以引导冷却流体。在燃气涡轮发动机的应用中,通常从燃气涡轮发动机的压缩机部分获取冷却流体。冷却液可以通过任何方式提供,只要存在允许冷却液进入并通过冷却通道的压力差即可。
来源:西门子专利(《Porous rotating machine component, combustor and manufacturing method》)
关于孔的实现,可以在CAD建模过程中定义具有孔的零件结构。允许定义边界的其他输入参数是可能的,在边界之间允许随机形状和大小以及孔的随机分布。此外,孔中粉末的堆积密度可以高达80%或高达70%,使得颗粒能够移动,粉末的最小百分比可以是30%或40%的堆积密度。
也可以在某些孔中留下一些出口,从而使得一小部分粉末可以从孔中抽出,然后通过涂覆的方式密封这些孔,使得仅少量的粉末保留在孔中,这将允许粉末在孔内运动以改善阻尼效果。
如ACAM中国王晓燕在《3D打印助力动力装备发展报告》提到的,为了简化理解3D打印在动力零件的应用逻辑,可以把动力装备的发展要求概括为亮点:爆发力强、安全性高。而3D打印释放了设计与制造的自由度,通过优化燃料与空气的混合比,提升动力装备的动能;另一方面,通过3D打印冷却通道或者是铜金属,提升了动力装备的快速散热性能,获得更高的安全性。
本文中所提到的通过3D打印开发燃气涡轮发动机的燃烧器多孔部件,让人脑洞大开,在3D打印助力提升动力装备性能的开发道路上又增添了另外闪亮的一笔:通过3D打印多孔材料的零件,获得想要达到的阻尼效果。
白皮书下载,加入3D科学谷产业链QQ群:529965687
网站投稿请发送至2509957133@qq.com
欢迎转载,转载请注明来源3D科学谷,并链接到3D科学谷网站原文。







