根据3D科学谷的市场观察,法国航空航天和国防公司赛峰在涡轮发动机上的3D打印应用由来已久,最知名的案例包括由赛峰打印的金属涡轮喷嘴,被欧洲航空安全局(EASA)认证。 由镍基合金X制成的喷嘴是Leonardo AW189型直升机的辅助动力装置(APU)的核心部件之一。根据3D科学谷的市场研究,赛峰开发了3D打印整体式离心脱气器,还开发了3D打印含内置过滤器的涡轮机U形接头。
一体化结构实现
涡轮机是复杂的系统,具有多个必须配备有密封装置的旋转组件(涡轮、压缩机等)。这些密封装置通常由位于旋转组件附近的加压空气迷宫装置制成。为此,直接从涡轮机的空气流道中获取空气。然后,该空气经由为此目的而设置的各种迷宫装置穿过涡轮机,然后被排出到涡轮机的外部,以限制涡轮机的其他区域、特别是减速齿轮箱、附件齿轮箱等的压力增加。
当空气穿过涡轮机的不同区域时,该空气带有用于对旋转组件的轴承和小齿轮进行冷却和润滑的油。为了避免带油空气的排放、减轻涡轮机的生态影响、降低油耗以及限制油储备的填充,重要的是提供脱气器,该脱气器允许在将空气排出到涡轮机的外部之前将油从空气中分离出来。
为了确保空气流道的连续性,必须在小齿轮盘中设置开口或槽,并且还必须在由小齿轮和脱气器形成的组件中增加防旋转系统,以便确保脱气器在小齿轮上的令人满意的分度。在现有技术中,脱气器与小齿轮之间的连接不允许对空气流道进行充分优化,并且仍存在不连续性,从而产生了压力损失。因此,脱气器在小齿轮上的集成不能实现空气流动部段上的最大工作自由度,并且不能使脱气器中的空气/油混合物的输送速度最小化。
铸造工艺能够生成复杂的形状,从而限制了压降,但是实现了复杂金属泡沫的集成或降低了增益。传统的机加工实现了金属泡沫的集成,但是限制了空气流道形状的自由度并且使增加了零部件数量。
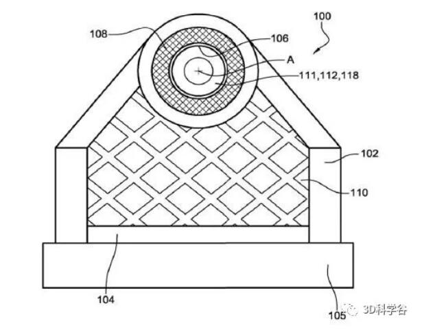
根据3D科学谷的市场研究,赛峰开发了带蜂窝结构的3D打印离心脱气器,通过3D打印,可以方便实现在径向上和在轴向上改变蜂窝结构的纹理和孔隙率, 同时腔室和小齿轮形成单一件。
通过3D打印增材制造进行生产,能够优化脱气器的性能水平,特别是在组件的质量和压降方面,还能够集成脱气器的零件实现一体化结构,例如集成内支承环。
赛峰开发的3D打印含内置过滤器的涡轮机U形接头包括主体,主体包括附接到壳体的装置和用于安装铰链销的至少一个孔。
通过3D打印,U形接头以结构一体化的形式制造,蜂窝型环形部分形成振动过滤器。过滤器或U形接头的一部分可由耐高温(例如大于200℃)的材料制成。这可以通过具有柔性特性并且特别地具有压缩和挠曲应变能力的蜂窝型结构来实现,该蜂窝型结构足以过滤被悬挂的系统在运行时可能经受的振动频谱。
通过基于粉末床的金属增材制造(3D打印技术)生产U形接头,特别是对U形接头的蜂窝型环形部分进行制造,3D打印在实现结构一体化和蜂窝状结构方面具备优势。相对于模制的、注塑的或机加工的部件,3D打印还可以大量缩短制造所需时间、减少成本和固定成本。
l 文章来源:3D科学谷市场研究团队
白皮书下载,加入3D科学谷QQ群:106477771
网站投稿请发送至2509957133@qq.com
欢迎转载,转载请注明来源3D科学谷,并链接到3D科学谷网站原文。










