现代涡轮发动机叶片翼型通常包括一个或多个内部冷却回路,用于引导冷却空气通过翼型以冷却翼型的不同部分,并且可以包括用于冷却翼型的不同部分的专用冷却回路。近日,GE的3D打印叶片翼型尖端“燕尾式”冷却专利获通过,可以使用相同或更少的供应气流能够在翼型件内实现更高的冷却空气对流。
本期谷.专栏将结合GE最新获批的专利-带复杂“三维神经丛”设计的叶片冷却,对GE的叶片技术进行分享。
根据3D科学谷,在涡轮发动机叶片的运转过程中,裂纹是叶片的致命缺陷,叶片的发展趋势是采用更耐高温的镍基合金,而且冷却设计越来越复杂,冷却效果的要求越来越高,同时采用高效的隔热涂层。而3D打印通过实现更均匀可控的晶体组织、更耐高温的复合材料、更复杂的叶片冷却通道、与金属基体结合更紧密的隔热涂层,从而提升了叶片的性能,更有效的避免裂纹发生。
涡轮发动机,特别是燃气或燃气涡轮发动机,是从通过发动机到多个旋转涡轮叶片上的燃烧气体流中提取能量的旋转发动机。燃气涡轮系统包括具有多级涡轮,其叶片从支撑转子盘向外延伸,每个叶片包括暴露于热燃烧气体流中,叶片必须获得冷却以承受燃烧气体产生的高温。冷却不充分可能会导致叶片上产生不必要的应力和氧化,并可能导致疲劳和/或损坏。
带有复杂空心结构的叶片通常具有一个或多个内部冷却流回路,内部冷却流回路带有多个冷却孔等。冷却空气通过冷却孔排出,以向叶片的外表面提供冷却。其他类型的热气路径部件和其他类型的涡轮部件可以以类似的方式冷却。
用于飞机的燃气涡轮发动机设计为在高温下运行以最大限度地提高发动机效率,通常,冷却是通过将来自高压或低压压缩机的较冷空气输送到需要冷却的发动机部件来完成的。
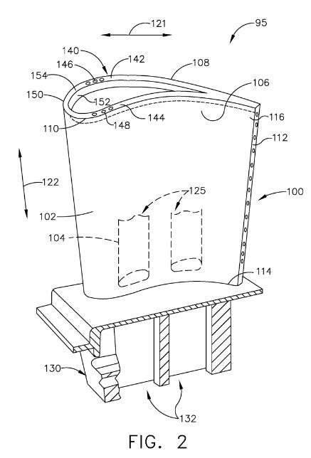
GE的3D打印叶片翼型尖端“燕尾式”冷却专利涉及到翼型的复杂冷却通道设计,包括界定内部并限定压力侧和吸力侧的外壁,外壁在前缘和后缘之间轴向延伸以限定弦向方向,并且还在根部和尖端之间径向延伸为了限定翼展方向。
在翼型件的内部设计有复杂的冷却导管,在翼展方向上从尖端突出的尖端导轨,尖端导轨包括与内表面隔开的外表面,尖端带有尖端连接外表面和内表面的表面,以及在外表面和内表面之间的末端导轨内提供的流体互连冷却通道的三维丛,通过“三维神经丛”形状的设计,冷却流体实现更好的冷却。
冷却导管形成在翼型的内部,尖端轨道从翼型的尖端伸出翼展方向,末端导轨包括与内表面间隔开的外表面,末端表面连接外表面和内表面,以及流体互连的冷却通道的三维丛。
冷却空气从冷却导管流过,通过位于叶片翼型尖端轨道内的流体互连的“三维神经丛”冷却通道,再经由出口将冷却空气从“三维神经丛”中排出。
通过复杂的“三维神经丛”冷却通道设计,冷却空气可在翼型内部径向向外、径向向内、轴向等或其任何组合移动,同时通过“三维神经丛”朝向出口排出。
“三维神经丛”包括多个离散的冷却通道组,每个冷却通道由单独的冷却导管流体供应。多个离散组可以流体耦合,例如通过单个连接流体通道,或者它们可以在翼型内部分离。此外,多个离散组可以形成径向布置在翼型件内的多个冲击区域,使得从冷却导管供应的冷却空气可以冲击不同的区域,直到通过冷却孔出口排出。
细长的喷射孔可以改善孔冷却,而冲击区可以提供冲击冷却,同时将冷却空气引导到翼型件的各个部分,包括薄膜冷却性能传统上受限的那些部分。
3D科学谷了解到与传统的冷却设计相比,GE的这项专利使得使用相同或更少的供应气流能够在翼型件内实现更高的冷却空气对流。可以提供增加的冷却空气在翼型件内的工作或混合,从而提高冷却性能。
此外,细长的喷射孔设计可用于将冷却空气喷射或下沉到具有较低空气或下沉压力的区域。这种较低的水槽压力可以保持冷却空气流过和流出“三维神经丛”,同时减少回流,这进一步提高了冷却性能。
随着GE专利的快速布局,GE在发动机的冷却方面搭建了更高的竞争壁垒,值得肯定的是GE看到了3D打印-增材制造的颠覆潜力,增材制造对GE原有的内部业务也带来很大转型压力,有很多改变需要进行,供应链、库存、人才…很大的压力,但是GE有勇气去改变。
转型之路是每一家企业都阶段性的必须要走的路,GE在转型之路上做了哪些深层次的布局,3D科学谷将通过市场研究保持持续关注。
l 谷专栏 l
欢迎高校及科研机构、企业科学家加入谷专栏,与业界分享对推动增材制造发展起关键作用的共性基础科研与应用成果,欢迎扫描下方图片二维码提交您的信息。
白皮书下载 l 加入3D科学谷QQ群:106477771
网站投稿 l 发送至2509957133@qq.com
欢迎转载 l 转载请注明来源3D科学谷 l 链接到3D科学谷网站原文。













