根据3D科学谷的市场研究,3D打印是一种带有鲜明数字化特征的技术,这意味着增材制造能够改变产品的生产方式是本质性的,不仅可以实现个性化,还可以实现功能化导向的制造。
与减材制造尤其是CNC机床加工来比较,3D打印-增材制造可以用来制造具有空腔的零部件,这是CNC机床加工无法实现的,CNC机床加工只能加工产品的外型,而且还会受到刀具干涉的局限,无法加工一些形状过于复杂的外型。
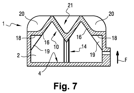
在空腔的制造策略方面,近日,赛峰3D打印-增材制造具有空腔的零部件专利获通过。
根据赛峰的专利,用于制造零件的增材制造方法(电子束熔化或选区激光熔融技术类型)通过在堆积方向(或制造方向)上逐步将粉末材料固化成层,不过增材制造制造带有空腔的零件在可接受的悬垂角度方面受到限制。
在这种情况下,大尺寸的空腔需要具有拱形的天花板,以符合这种悬垂角度的限制,从而增加空腔的内部和外部体积。然而,某些零件在体积和尺寸方面受到限制,这对设计带有拱形天花板的空腔带来一定的挑战。
为了制作带有天花板的空腔,即使不是平的,但要想实现几乎没有拱形是具有挑战的。当前的增材制造软件通常包含一个功能,可以在制造零件时创建柱形支撑,以支撑制造过程中空腔的天花板。然而,这些柱子占据了相当大的体积,对于半封闭的空腔,或者仅通过流体入口通道对外开放的空腔,不可能消除这些柱子。
赛峰的专利寻求一种通过增材制造制造具有空腔的零部件的方法,该方法用于最小化支撑天花板且将永久保持的支撑件所占据的体积。
为了实现该目的,赛峰的专利提供了一种通过增材制造制造具有空腔的部件的方法,该方法包括以下步骤:
在空腔的顶部上限定邻接部分,包括完全由边缘限定的中心部分,以及由边缘和天花板边界的一部分限定的外围部分;
对于中央部分,通过靠在限定中央部分的边缘向顶点会聚的小面限定顶头,并且还限定了从顶头延伸到腔体的底部同时以中心为中心的细长支撑。
对于每个外围部分,小平面靠在限定所述外围部分的边缘上,并且朝向末端边缘会聚,末端边缘在基本上垂直于空腔壁的平面中延伸,并且还在腔体中限定支撑件。
可以设计多个细长的支撑,细长的支撑件具有星形截面,具有在相应平面中延伸的分支,构建方向通常是垂直方向。
通过3D打印-增材制造制造带有空腔设计的零部件,通过将分支和肋条的宽度设置为最小值,以节省材料并将对空腔体积的影响降至最低,同时仍然能够在柱的顶部和底部制造柱头。
根据3D科学谷的市场研究,赛峰的专利倾向于系统化的解决面向增材制造的设计与制造的问题,在设计方面,赛峰尤其重视空腔、点阵这些对航空航天行业来说尤为重要的可以带来减重的设计。
赛峰之前获得通过的3D打印涡轮机脱气器及U形接头方面的专利,也是充分发挥了3D打印的优势,通过3D打印对U形接头的蜂窝型环形部分进行制造,3D打印在实现结构一体化和蜂窝状结构方面具备优势。赛峰开发了带蜂窝结构的3D打印离心脱气器,通过3D打印,可以方便实现在径向上和在轴向上改变蜂窝结构的纹理和孔隙率, 同时腔室和小齿轮形成单一件。
此外,面向制造,赛峰还非常注意后期的机加工的可行性。根据3D科学谷的市场研究,法国赛峰还开发了通过增材制造来制造不对称零部件的方法,赛峰开发的方法包括以下步骤:
- 提供待制造部件的数字模型;
- 使模型相对于构造方向定向;
- 通过增加牺牲平衡部分来修改模型,该牺牲平衡部分被配置成为了平衡在制造部件时出现的残余应力的用途;
- 在修改的模型基础上,使用增材制造技术逐层制造出零件;
- 通过减材的制造方法切除掉牺牲部分。
总体来说,赛峰围绕着减重所需要的设计与制造重点,进行了积极的专利布局。
l 谷专栏 l
欢迎高校及科研机构、企业科学家加入谷专栏,与业界分享对推动增材制造发展起关键作用的共性基础科研与应用成果,欢迎扫描下方图片二维码提交您的信息。
白皮书下载 l 加入3D科学谷QQ群:106477771
网站投稿 l 发送至2509957133@qq.com
欢迎转载 l 转载请注明来源3D科学谷 l 链接到3D科学谷网站原文。











