关于3D打印在航空发动机领域的应用前景,当2015年第一个传感器出现在GE90-94B喷气发动机上时,它成为首个获得FAA认证的增材制造的飞机发动机部件。随后几年里,GE于2019年实现了GE9X上304个3D打印零部件的超越!
由此可见,3D打印正在引领发动机性能的不断超越。
本期,3D科学谷与谷友一起来领略国内在3D打印航空发动机领域的研究进展。
l 南方科技大学
- 燃烧组件的一体化设计与制造
根据南方科技大学的专利CN108592086A,南方科技大学开发了微型燃气涡轮发动机燃烧组件的一体化设计与制造方法。燃烧组件包括火焰筒及喷嘴。火焰筒包括主体,主体上开设有通孔,通孔连通燃烧腔与火焰筒的外界。
燃烧腔包括相背的头部和尾部。气体从头部及通孔进入火焰筒且从尾部流出火焰筒。喷嘴设置在头部,喷嘴与火焰筒通过增材制造技术一体化制造。
南方科技大学利用增材制造技术对发动机的燃烧组件进行一体化设计及制造,将火焰筒及喷嘴融合为一个整体,可以简化燃烧组件的结构,减少燃烧组件各部件之间的支撑和连接结构,便于加工,有利于减重,提高可靠性,降低加工及维护成本。
在商业应用方面,微型航空发动机作为动力源,对国家安全和国防中的小型飞行器、飞机、舰船辅助动力、甚至导弹均有重要战略意义。对民用的能源供给方式也有技术革新意义。
l 中航商用航空发动机
- 空心风扇叶片
根据中航商用航空发动机的专利CN106032808A,中航商用航空发动机开发了空心风扇叶片。空心风扇叶片包括空心的叶片本体,空心区域内沿径向设置有至少一根树形筋条,树形筋条中靠近叶尖区域的筋条数量大于靠近叶片根部区域的筋条数量。中航商用航空发动机有限公司通过在叶片本的空心区域内设置树形筋条,能够适用于叶片的中下部弦长较小,工作时应力大,叶片中上部弦长较长,叶片薄,工作时变形大的特征,因此,通过设置树形筋条,能够进一步提高叶片空心率,保证抗冲击性能。空心风扇叶片采用金属材料,且通过3D打印-增材制造工艺加工制成 。
l 西安交通大学
- 高熵合金涡轮发动机热端部件
根据西安交通大学的专利CN104308153B,西安交通大学开发了基于选区激光熔化的高熵合金涡轮发动机热端部件的制造方法,从钨、钛、锆、铪、钒、铌、钽及钼八种高熔点金属粉末中选取任意五种或者五种以上,按照一定摩尔比均匀混合,制得高熵合金粉末。通过选区激光熔化技术快速成形出涡轮发动机热端部件坯体,然后对坯体进行热处理、精加工,得到高温性能良好的高熵合金涡轮发动机热端部件。成形的涡轮发动机热端部件具有高的致密度和优越的高温性能,同时具有较高的成形精度和表面精度,能够实现高性能涡轮发动机热端部件的快速精确制造。
l 南京航空航天大学
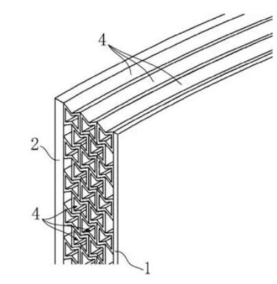
- 具有蜂窝型负泊松比结构的发动机包容环
根据南京航空航天大学的专利CN109113810A,南京航空航天大学开发了具有蜂窝型负泊松比结构的发动机包容环,包括内环、外环、夹在内环和外环之间的夹层。夹层具有呈蜂窝状的多个胞元,胞元沿周向延伸且径向截面为负泊松比结构;每个胞元的径向截面均具有两条第一胞壁和四条内凹的第二胞壁,第一胞壁分别在与内环和外环同圆心的两个圆周面上延伸,第一胞壁和第二胞壁连接并合围呈内凹六边形结构;相互交错且相邻的两个胞元之间通过各自的一条第二胞壁互相贴合。该包容环具有较好的抗冲击性和能量吸收能力,保障发动机的可靠性;并且也具有较好的减重效果,可以充分挖掘航空零部件结构设计轻量化的潜力。
l 北京动力机械研究所
- 涡轮发动机导流组件
根据北京动力机械研究所的专利CN110617115A北京动力机械研究所,利用增材制造方式生产的涡轮发动机导流环组件,通过合理的结构设计实现了一体化,且具有尺寸小、重量轻,成形进度快、效率高,与模型吻合度高,内部缺陷少且小以及加工材料通用性强等优点。
其他方面,还包括西安成立航空制造有限公司在3D打印代替铸件燃油喷嘴壳体的加工方法领域的探索;中国科学院工程热物理研究所在燃油喷嘴轻量化设计方面的探索;中国航空工业集团公司西安飞机设计研究所在轻量化飞机发动机吊挂结构方面的探索等等。
相关延伸阅读请参考《一文洞悉国内航空发动机叶轮叶片3D打印进展到哪里了?》
白皮书下载,加入3D科学谷产业链QQ群:529965687
网站投稿请发送至2509957133@qq.com
欢迎转载,长期转载授权请留言













