LLNL国家实验室的金属增材制造加速认证总监Wayne King在GE打造的Industry in 3D系列脱口秀访谈节目中,谈到依靠人类的经验来进行加工质量提升,这个过程是充满痛苦和煎熬的。这种基于人的经验加工技术将要被基于科学的加工技术所替代,他认为前置反馈将要颠覆当前的3D打印现状。
前置反馈像3D打印设备的大脑,“告诉”打印机如何做避免错误。利用所能得到的最新信息,进行认真、反复的预测,把计划所要达到的目标同预测相比较,并采取措施修改计划,以使预测与计划目标相吻合。如今,根据3D科学谷的市场观察,GE有关动态地控制3D打印-增材制造过程的专利获得通过,这其中的核心正是前置反馈。
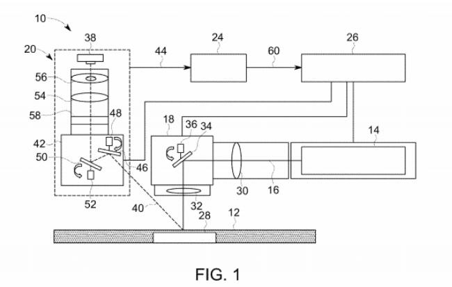
在目前的基于粉末床的选区激光金属熔化系统中,激光装置产生激光束,该激光束入射到粉末床上的区域内熔化粉末材料,从而形成熔池。在一些已知的增材制造系统中,零部件在加工过程中可能受到过量的热量或熔池中的传导或者飞溅而发生质量隐患。
此外,凝固过程中材料之间的热传递,带来半熔化的粉末粘结在零件表明,降低了零部件的表面质量,特别是悬垂或面向下的区域的表面质量。增加的熔池大小和深度以及熔融金属的流动通常会导致悬垂或面向下的表面光洁度差。
根据3D科学谷的市场研究,GE于2020年8月18日获得通过的《Systems and Method for Advanced Additive Manufacturing》专利描述了GE动态地控制3D打印-增材制造过程。这个专利提供了一种用于动态地适应零件的增材制造的方法。
通过存储用于构建一个或多个构建参数的零件的构建文件,以及接收多个构建信息。多个构建信息中的每个构建信息包括由多个机器中的至少一个机器对零件的构建过程传感器扑捉到的信息。通过传感器信息与构建参数进行比较以确定差异,确定是否对构建参数进行调整。
在加工工艺的控制过程中,GE使用了数字孪生体技术,并通过机器学习来训练处理器或处理元件,机器学习程序可以采用神经网络,该神经网络可以是卷积神经网络,机器学习可能涉及识别现有数据中的模式,以便于对后续数据进行预测。
GE《Systems and Method for Advanced Additive Manufacturing》专利
根据业内专家,卷积神经网络是近些年逐步兴起的一种人工神经网络结构, 因为利用卷积神经网络在图像和语音识别方面能够给出更优预测结果, 这一种技术也被广泛的传播可应用. 卷积神经网络最常被应用的方面是计算机的图像识别, 不过因为不断地创新, 它也被应用在视频分析, 自然语言处理, 药物发现, 等等。包括Alpha Go, 让计算机看懂围棋, 同样也是有运用到这门技术。
那么卷积神经网络的计算原理是怎样的呢?“卷积” 和 “神经网络”. 卷积也就是说神经网络不再是对每个像素的输入信息做处理了,而是图片上每一小块像素区域进行处理, 这种做法加强了图片信息的连续性。使得神经网络能看到图形, 而非一个点。这种做法同时也加深了神经网络对图片的理解。具体来说, 卷积神经网络有一个批量过滤器, 持续不断的在图片上滚动收集图片里的信息,每一次收集的时候都只是收集一小块像素区域,然后把收集来的信息进行整理, 这时候整理出来的信息有了一些实际上的呈现, 比如这时的神经网络能看到一些边缘的图片信息, 然后在以同样的步骤, 用类似的批量过滤器扫过产生的这些边缘信息, 神经网络从这些边缘信息里面总结出更高层的信息结构,比如说总结的边缘能够画出眼睛,鼻子等等。再经过一次过滤,脸部的信息也从这些眼睛鼻子的信息中被总结出来。最后我们再把这些信息套入几层普通的全连接神经层进行分类,这样就能得到输入的图片能被分为哪一类的结果了。
拿粉末床金属熔融技术来说,金属粉末一层一层的被凝固,从而成为最终零件,在层凝固的过程中就有着与模型切片所对应的图像成像过程,由此说来,卷积神经网络原理用于3D打印的前馈控制是颇具发展潜力的。
白皮书下载,加入3D科学谷产业链QQ群:529965687
网站投稿请发送至2509957133@qq.com
欢迎转载,转载请注明来源3D科学谷,并链接到3D科学谷网站原文。









