内窥镜属于微创医疗器械,就像医生的“眼睛”能够有效地帮助医生“看清“病灶。微创手术的普及与临床诊断需求推动内窥镜进入快速发展时期。据Markets and Markets报告显示,2019年全球内窥镜的市场容量约为256亿美金,将以6.6%的复合年增长率增长,到2024年将达到352亿美金。根据中国医疗器械行业协会数据,2018年,我国内窥镜市场容量达到278亿元,内窥镜配套器械市场规模更大,达500亿元。[1]
内窥镜是一类精密的光学仪器,不论是硬镜和软镜,它们的生产工艺都需要选择特有的密封技术来实现,不论是内窥镜中镜片之间、镜片和外管之间、金属材料之间都需要非常高的固定和密封要求。而随着小型化内窥镜的出现,对于内窥镜厂家制造工艺的考验是“更上一层楼”。[1]
对3D打印技术而言,显著的优势是比传统工艺更易于驾驭产品的复杂性。面对小型化的复杂内窥镜组件制造需求,3D打印有哪些可能的应用切入点?本期,3D科学谷与谷友一起通过国内外科研机构、内窥镜制造商、3D打印企业所开展的应用探索,来感受其中蕴含的潜能。
在不引起组织创伤的情况下,小型内窥镜探头是对小腔或脆弱器官进行成像时所必需的设备。但当前的制造方法限制了高度小型化的探针成像性能,从而限制了小型内窥镜探头的广泛应用。
澳大利亚阿德莱德大学医学院、光学先进传感研究所和德国斯图加特大学应用光学研究所(ITO)和SCoPE研究中心的研究人员,通过双光子光刻微型3D打印技术开发了一种新型超薄探针装置,在单模光纤上(比人类发丝还细)直接创建侧面自由形微光学器件。研究人员称,这是迄今报道的最小自由形式三维成像探头,带有保护性塑料外壳的整个内窥镜直径为0.457毫米。[2]
3D打印内窥镜设计,b:无芯光纤尖端上的3D打印离轴自由形式全内反射(TIR)反射镜的显微镜图像,该光纤被熔接在导光单模光纤上。来源:nature.com
当前的探针制造技术在制造高度小型化探针时存在球面像差、低分辨率或浅焦深的问题。在光学设计中,需要权衡高分辨率(大数值孔径,NA),从而导致光束发散迅速,聚焦深度较小,而分辨率差(NA较小),无法实现较大的聚焦深度 。在光学相干断层扫描成像中,因为内窥镜和血管内探针部署在透明的导管鞘内,既保护动物或患者在探针旋转进行扫描时免受创伤,又防止在多个动物之间重复使用时的交叉污染。
在光学上,这种透明鞘相当于负柱面透镜,并引起散光。散光增加了小型化探针的横向分辨率的衰减。因此,对这些非色差的校正对于用微型探头在所希望的聚焦深度上获得尽可能好的分辨率是至关重要的,而当前的微光学制造方法缺乏减轻这些非色差的能力。研究人员开发了一种超薄单片光学相干断层扫描内窥镜,通过使用双光子聚合3D打印技术将125微米直径的微光学器件直接印刷到光纤上,克服了这些限制。
在研发过程中,研究人员将一根450微米长度的无芯光纤拼接到一根20厘米长的单模光纤上,在光束到达3D打印自由曲面微光学器件之前对其进行扩展。为了实现这一段无芯光纤的拼接,他们首先将一段较长的无芯光纤拼接到单模光纤上,然后使用自动玻璃处理器和直列式切割刀将其切割到450±5微米。双光子光刻3D打印技术起到的作用是,将光束整形微光学器件直接打印到无芯光纤的远端。
3D打印微光学器件的自由曲面通过全内反射改变光束的方向,并聚焦光束。光纤组件固定在外径为0.36毫米的薄壁扭矩线圈内,扭矩线圈允许旋转和线性运动从成像探头的近端精确地传递到远端,从而实现3D扫描。3D打印的微型成像探头在导管鞘内自由旋转,导管鞘保持静止,并在3D扫描期间保护生物体组织。[3]
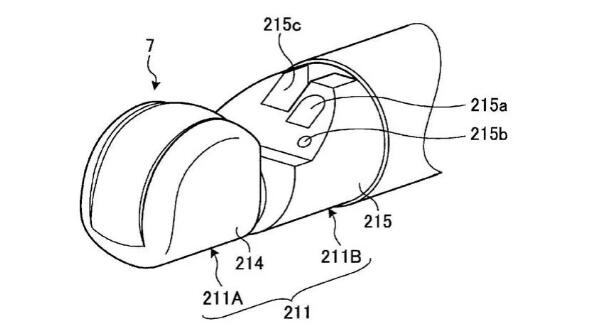
深圳开立生物医疗科技股份有限公司自2002年成立以来一直致力于医疗设备的研发和制造,产品涵盖超声诊断系统、电子内镜系统和体外诊断系列三大产品线。开立医疗推出的HD550系列高清内窥镜产品,产品性能与外资差距逐渐缩小,在医院端获得良好反馈。填补了国产高清内窥镜的空白,有望更进一步加快国产高端内窥镜产品发展。开立医疗重视技术创新,其中也包括通过3D打印技术进行产品设计创新。
根据3D科学谷的市场研究,开立医疗研发了一种可在一定程度上减小外形尺寸的内窥镜头端部,使内窥镜头端部进一步微细化,从而解决内窥镜头端部尺寸大的技术问题。
内窥镜头端部包括头端座、成像模组和图像传感模组。图像传感器模组由传感器芯片组件和电子元器件构成。传感器芯片组件和所述电子元器件通过立体封装的方式封装为一体。这种内窥镜头端座上设置有安装孔,成像模组正式设置在安装孔内,而图像传感模组对应安装孔连接在头端座的后端。
在这一内窥镜头端部组建的应用中,3D打印技术的作用是对芯片组件进行立体封装。立体封装结构具有内部流道介质,用于电信号的传输,满足高密度、高性能、低成本的要求,并克服了现有技术中存在的互连金线长、空间利用率小、工艺要求高或成本高的缺点。在开立医疗开展的工作中,传感器芯片组件和电子元器件采用了立体封装,取消了外部连接结构,形成立体式电路连接结构,解决了二维电子元器件需要足够的面板空间以设置所需电子元器件的问题。并且不需要在传感器芯片组件外沿周围设置保护边沿,从而能够消除T型结构中电子元器件对空间的占用。
这种立体封装带来的优势是,可相应地减小图像传感模组的整体外部尺寸,从而进一步减小内窥镜头端部的外形尺寸,使得内窥镜的微细化成为可能,继而有效改善受测者的临床体验。
开立医疗在3D打印领域的一家战略合作伙伴为摩方材料。在精密医疗内窥镜制造领域,内窥镜的结构越来越趋向体积微型化,镜体的直径小到1毫米以内,传统的加工方式很难达到如此高要求。精细复杂的结构设计,导致传统工艺的高昂的研发和加工成本,生产过程中常面临诸多棘手难题。而摩方材料的微纳3D打印技术能够实现复杂部件的一体成型生产。
对于壁厚小于0.15毫米的精密内窥镜端部座,CNC和开模注塑等传统加工方式成型都比较困难,尤其对于一些深宽比大的薄壁件。图中内窥镜端部座中的圆管壁厚是70微米,管径1mm,高度为4mm,精度要求±10~25微米,CNC和开模注塑,很难加工出这样逼近极限的结构。摩方微纳3打印设备则能够实现这类微型薄壁组件的整体结构一次成型,无需组装。
奥林巴斯是日本乃至世界精密、光学技术的代表企业之一,事业领域包括医疗、生命科技、影像设备等。在 20 世纪 60 年代末,奥林巴斯就已经预见了内镜在外科手术中的应用。1979年,公司收购了德国硬镜制造商 Winter & Ibe GmbH,将医学领域的业务从软镜拓展到软镜、硬镜和手术耗材。在中国市场上,软镜市场几乎被奥林巴斯、富士胶片和宾得三家日企巨头垄断,其市场份额超过95%,硬镜市场中奥林巴斯也占据了第一梯队。
根据3D科学谷的市场研究,奥林巴斯也开展了内窥镜领域的3D打印应用研究。在一项研究中,奥林巴斯开发了一种超声波内窥镜,并提出了超声波振子组件的制造方法。
已知超声波振子的类别有凸起型、线阵型、径向型等超声波光束的收发方向不同的多个类型。其中,就凸起型的超声波振子而言,多个压电元件沿着曲面排列,它们分别将超声波光束朝向曲面的径向射出。而在以往的超声波内窥镜中,在将超声波振子组装于壳体时,在中继基板和收容部之间形成了空隙,而空隙的存在难以使壳体小型化。奥林巴斯希望提供能够使收容超声波振子的壳体小型化的超声波内窥镜。
在这项应用研究中,3D打印技术被用于制造壳体。奥林巴斯开发的超声波振子组件包括:超声波振子、线缆、中继基板以及壳体。壳体的作用是保持超声波振子。在进行制造时,首先通过具有绝缘性的树脂及3D打印技术成形壳体的一部分,然后在利用该3D打印技术在超声波振子、中继基板、线缆一侧进一步成形3D打印壳体。
根据奥林巴斯,这一研发工作起到能够使收容超声波振子的壳体小型化的效果。
上海交通大学开发了一种单光纤内窥镜扫描探头,该探头包括:准直镜、单纤维光纤、永久磁铁、微细圆管、驱动线圈和支柱,准直镜固定在单纤维光纤的一端部。其中微细圆管通过3D打印机直接打印而成,这一3D打印微细圆管表面上有倾斜式凹槽。
这一研究以微机电系统加工技术为基础,通过3D打印机直接形成带有倾斜凹槽的微细圆管,这样就可以利用缠绕方式在微细圆管表面形成具有任意倾角的驱动线圈结构,即可以沿着凹槽的方向直接绕驱动线圈,使得驱动线圈非常稳定的固定在微细圆管的表面上。
通过以上应用研究可以发现,3D打印的应用都离不开“微、小” 这一概念。在内窥镜体积微型化的发展趋势下,实现小而复杂的内窥镜组件中所体现出来的优势,为3D打印技术带来了应用空间。
目前3D打印微型内窥镜组件的应用多处于研发和原型制造阶段,内窥镜属于一种进入到人体内中使用的三类医疗器械,因此制造内镜组件所用的3D打印材料、工艺均需跨越满足三类医疗器械注册审批需求这道门槛,方能实现产业化应用。业界对于这一过程中所需投入的研发资金和时间仍需要报以足够的耐心。
参考资料:
[1] 思宇医疗观察. 《300多亿美金市场!内窥镜“耗材化”是大势所趋?》
[2] Jiawen Li, Simon Thiele, Bryden C. Quirk, Rodney W. Kirk, Johan W. Verjans, Emma Akers, Christina A. Bursill, Stephen J. Nicholls, Alois M. Herkommer, Harald Giessen, Robert A. McLaughlin. Ultrathin monolithic 3D printed optical coherence tomography endoscopy for preclinical and clinical use. Light: Science & Applications, 2020; 9 (1) DOI: 10.1038/s41377-020-00365-w
[3] 江苏激光产业创新联盟. 《全球最小3D打印光纤内窥镜成功研发》
其他参考资料:CN109561884A;CN211213052U;CN103932659B
白皮书下载,加入3D科学谷产业链QQ群:529965687
网站投稿请发送至2509957133@qq.com
欢迎转载,转载请注明来源3D科学谷,并链接到3D科学谷网站原文。











