3D打印一体化结构是一种具有代表性的为增材制造而设计(Design for additive manufacturing,DfAM)的结构。以增材制造的思维去设计时,需要突破以往通过铸造、压铸、机械加工制造所带来的思维限制,这个过程是充满挑战的。
根据3D科学谷的市场预测,随着结构一体化在新能源领域应用的切入,能在未来5年内跑赢市场的应用点,将实现由“点”及“面”,从一个角落瞬间“掀起”,“跳跃”起来,塑造变化的大局,而3D打印在实现结构一体化方面有着天然的成本优势,必将随着能在未来5年内跑赢市场的应用点,将实现由“点”及“面”的应用发展获得一条新的上升路线。
有趣的是,根据3D科学谷的市场观察,西屋电气充分发挥了3D打印实现结构一体化的优势,开发了3D打印的核动力燃料组件隔离栅。
更薄、更高效
典型的核动力反应堆包括容纳核反应堆堆芯的反应堆容器,在容器内部,从反应容器径向向内隔开的是一个大体上为圆柱形的芯筒,并且在该筒内是一个成形器和一个挡板系统,该系统允许从圆筒形的筒体过渡到一个圆筒形的筒体。
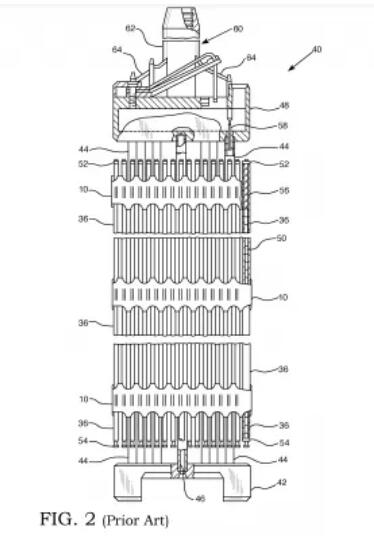
反应堆堆芯由大量细长的燃料组件组成,每个燃料组件包括多个包含易裂变材料的燃料棒,其反应以产生热量。每个燃料组件的燃料棒由多个栅格保持成有组织的,间隔开的阵列,这些栅格沿着燃料组件的长度轴向间隔开,并附接到燃料组件的多个细长的控制杆导向套管。
在反应堆运行期间,通常将诸如水之类的冷却剂流体通过多个入口喷嘴泵入反应堆容器中。冷却剂流体向下流经在反应堆容器和堆芯筒之间限定的环形区域,进入在反应堆容器中限定的下气室,然后向上穿过反应堆堆芯的燃料组件。
燃料组件的燃料棒传递给冷却液的热能被来自容器的流体带走,由于芯筒中存在孔,因此冷却剂流体也存在于筒和挡板结构之间,并且压力高于芯体内的压力。然而,当流体向下流过反应堆容器和堆芯筒之间的环形区域时,挡板结构与堆芯筒一起将冷却剂流体与燃料组件分离。
而堆芯内的功率受到最热温度的限制,燃料组件可以承受的最热温度不会使其失效。传统上,极限温度是燃料棒中的燃料棒锆包层经历堆芯内最热的温度。为了促进冷却剂在芯内的横向混合以实现径向上更均匀的温度,燃料组件通常采用混合叶片,该混合叶片也趋于引起冷却剂的横向运动,如果不受约束的话,这也可能导致燃料棒的振动。
通常,在燃料组件内的常规栅格结构中采用弹簧和凹坑,以在燃料棒和栅格结构之间提供六点接触布置。格栅通常沿着燃料组件轴向串联地间隔开,以保持冷却剂流过的燃料棒之间的横向间隔。
冷却剂的横向流动在堆芯中实现了更均匀的径向温度分布,并允许获得比没有冷却剂交叉流动时获得的功率输出更高的功率输出,但是,功率输出仍然受到燃料所经历的最高温度的限制。
根据3D科学谷的了解,市场上已经出现了用于燃料棒的SiC覆层,因为SiC覆层可以承受比锆高得多的温度。SiC以编织结构形成以适应一些柔韧性并避免陶瓷的常规刚性。
由于SiC燃料棒通常具有非常粗糙的表面,对于水平凹坑设计,尤其是在大多数压水反应堆网格中通常使用的水平凹坑设计,存在潜在的损坏隐患。在水平凹坑设计的情况下,SiC覆层的粗糙表面可能会挂在凹坑上并损坏凹坑,或者可能会损坏SiC燃料棒覆层。因此,当前的六点(两个弹簧和四个凹坑)网格设计可能不适用于SiC燃料包壳。根据3D科学谷的市场研究,西屋电气设计了一种新的燃料组件隔离栅设计,并通过3D打印一次性将结构作为一体化组件制造出来。
西屋电气设计的间隔栅具有沿着细长燃料组件的竖直轴线的轴向尺寸,核燃料组件格栅包括多个管状燃料棒支撑单元,具有四个横截面通常为正方形的壁。在相邻的燃料棒支撑室或控制棒支撑室中,每个壁的内部支撑垂直弹簧。西屋电气还考虑了一种混合叶片,该混合叶片在燃料杆支撑单元之间的区域中,连接至燃料杆支撑单元的外部。
通过引入增材制造技术-3D打印技术,可以在不进行进一步组装或焊接过程的情况下打印西屋电气开发的隔离栅。另外,电池之间将只有一个薄壁(0.046厘米),因此压力损失系数将小于典型的网格设计。
与现有的栅格设计相比,新的设计允许SiC型燃料棒的平滑插入,同时还带来低压降。增材制造技术使得间隔栅设计允许1)实施高度精细但完全集成的混合功能,从而增强热和水力性能;2)最小化总压降;3)提高整体网格强度以应对震动。
白皮书下载,加入3D科学谷QQ群:106477771
网站投稿请发送至2509957133@qq.com
欢迎转载,转载请注明来源3D科学谷,并链接到3D科学谷网站原文。











