关于汉胜(Hamilton Sundstrand Corp)通过3D打印开发热交换器的应用,3D科学谷曾与谷友分享过汉胜通过3D打印改进的逆流热交换器的个中奥秘。本期,结合汉胜最新通过的专利,3D科学谷与谷友一起来领略超声波3D打印在制造含多层结构的热交换器方面的应用。
更复杂的内部结构
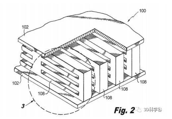
根据汉胜2020年12月22日通过的最新专利US10871334B2,他们开发了热交换器结构中包括一对相对的、间隔开的热交换器板,在这之间限定了具有入口和相对的出口的热交换器空间。
3D科学谷了解到这个多层结构的热交换器空间内包括多个热交换器肋,每个肋体包括穿过其中的多个狭缝,以限定从热交换器空间的入口到出口通过热交换器肋的流动路径。
每个肋包括多个增材制造层,这些增材制造层与通过其狭缝限定的流动方向对准。每个肋可包括多个超声增材制造层,与通过其狭缝限定的流动方向对准。
根据汉胜公司的设计,每个狭缝可以是基本矩形的,矩形阵列可包括三乘三阵列中的九个狭缝,或者沿四乘三阵列中的四个狭缝沿纵向排列的十二个基本矩形狭缝。
这样的设计可以用于安装于液冷式电动机控制器的冷却板中,将热交换器的出口与冷却通道中的第二个流体连通。通过使流体循环通过冷却通道和热交换器来冷却冷板体。
这种多层热交换器的制造方法是超声增材制造3D打印技术,通过超声增材制造技术形成多个热交换器肋,在连续沉积多个层后,形成肋体和狭缝。最后对其进行机加工,以获得想要的精度。
热交换器和冷却板可以分别制造,然后可以连接在一起。还可以预期的是,通过增材制造技术,将通道冷板和一个或多个热交换器整体形成在一起制造出来。
UAM超声增材制造3D打印技术主要使用使用超声波去熔融用普通金属薄片拉出的金属层,从而完成3D打印。该方法能够实现真正冶金学意义上的粘合,并可以使用各种金属材料如铝、铜、不锈钢和钛等。
关于UAM超声增材制造3D打印技术,根据3D科学谷的市场观察,国际上Fabrisonic的方法可以同时“打印”多金属材料,而且不会产生不必要的冶金变化。该工艺能够使用成卷的铝或铜质金属箔片制造出带有高度复杂内部通道的金属部件。
由于电子设备往往会产生热量,热管理组件往往会成为设计的关键部分。这种热交换器装置过去是通过CNC机加工而成的,但是机加工在创建复杂的通道以及阵列式的交叉钻孔和内部路径的能力十分有限。而如今可以通过UAM来制造出拥有复杂内部通路的金属部件,使其具备良好的热传导性。
3D科学谷在《3D打印产业化机遇与挑战白皮书》中提到热交换器将是下一个产业化领域。而究竟3D打印将在热交换器的产业化方面达到怎样的影响力和覆盖面,这不仅仅取决于3D打印设备,材料的价格,还取决于工艺质量是否能够达到一致可控,以及标准与认证的完善,而最重要的是如何从设计端获得以产品功能实现为导向的正向设计突破。
根据3D科学谷的市场观察,不仅仅是汉胜公司,不少的公司在3D打印热交换器和散热器方面获得了进展。其中包括在航空航天领域的GE、雷神公司、诺思罗普·格鲁曼公司、Unison Industries公司;在汽车领域的HiETA Technologies与雷尼绍合作开发的换热器,Conflux所开发的新型高效热交换器ConfluxCore以及菲亚特克莱斯勒(FCA汽车集团)开发的铝制散热器;在IT电子领域微软、IBM、Ebullient LLC等公司开发的微处理器冷却解决方案以及热管理系统。
而关于文中提到的通过机加工进行后期的处理,这其中面对着很多挑战。其中,需要值得注意的是CNC数控加工对夹具有两大要求,一是夹具的精度和刚度,二是夹具应该有可靠的定位基准。夹具的可调整性,通用性是十分重要的,可以缩短生产准备时间。通过3D打印-增材制造工艺,可以特别灵活地制造复杂且个性化的零件。国际上GF加工方案推出了适用于3D打印的专用夹具,是衔接3D打印与机加工的一大亮点。
有关热交换器与散热器的深入应用、技术发展趋势,请前往《3D打印与热交换及散热器应用2.0》白皮书。
l AMPOWER与3D科学谷正在合作面向全球欧洲、美洲、亚洲市场发布的2020年全球增材制造研发市场报告,欢迎中国企业积极参于有关3D打印领域设备、软件、材料的研发市场调查,敬请扫码参与调研。
白皮书下载,加入3D科学谷QQ群:106477771
网站投稿请发送至2509957133@qq.com
欢迎转载,转载请注明来源3D科学谷,并链接到3D科学谷网站原文。












