各个行业的原始设备制造商(OEM)都对确保按照OEM制定和控制的标准制造与其产品或设备一起使用的替换组件感兴趣。以航空业为例,如果很容易获得并安装有伪造或复制品的替换零件,则燃气涡轮发动机的制造商以及依赖它们的航空公司和乘客可能会面临严重的风险。
本期,3D科学谷与谷友通过GE最新通过的专利来共同领略GE如何通过造影剂技术来打造属于零件的身份证。
3D打印-增材制造技术日趋成熟,例如,使用各种材料(例如金属和塑料)的增材制造技术变得越来越精确,且价格变得越来越低。但是,增材制造技术的进步也降低了进入增材制造领域的障碍。例如,市场上通过逆向工程和复制,以安装伪造部件的风险增加,从而导致运营危险。
根据3D科学谷的市场观察,GE开发了一种技术,允许将纯正零件与假冒伪劣区分开,以确保通过增材制造产生的零件不会被未经授权的第三方复制。从而以这种方法用于认证增材制造的部件,以区分真品和伪造品。
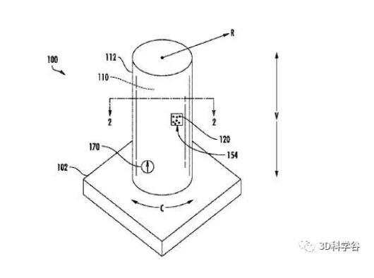
这种方法包括在组分的一个或多个横截面层内选择性地沉积一种或多种造影剂,以限定组分的组分标识符。根据3D科学谷的深入了解该方法进一步包括将能量从能量源引导到造影剂上以融合造影剂和横截面层。
通过造影剂定义了部件标识符,可以通过用扫描仪扫描组件的识别区域并基于由扫描仪获取的数据来确定组件是真实的,从而获得指示组件标识符的数据。
GE于2021年3月9日获公开的专利介绍了在内部主体层上选择性地沉积造影剂以限定该组件的组件标识符,以及将能量从能量源引导到造影剂上以使造影剂和内部主体层融合。根据3D科学谷的了解造影剂可以是使用X射线发射光谱法读取的X射线发射造影剂,使用红外照相机或红外扫描仪读取的红外造影剂等。
这种方法适用于多种增材制造技术,包括熔融沉积建模(FDM),选区激光烧结(SLS),通过喷墨和激光喷墨的3D打印,立体光刻(SLA),电子束熔化(EBM),直接金属沉积(DMD),数字光处理(DLP),直接选区激光熔化( DSLM)等等。
这种造影剂可用于使用任何合适的材料来形成的零部件。例如,材料可以是塑料,金属,混凝土,陶瓷,光敏树脂或任何其他合适的材料。而对于金属材料来说,则包括但不限于纯金属,镍合金,铬合金,钛合金,镁合金,铝合金和镍或钴基超级合金等等。
增材制造技术使得零部件的形状和轮廓更加复杂,能够制造具有不同材料的单个部件,使得部件的不同部分可以展现出不同的性能特征。而通过造影剂给复杂的增材制造组件以对应的“身份证明”,可以容易地与复制品或伪造组件区分开。
尤其是对于那些零部件特征可能难以检测或不可能检测的情况下,通过逆向工程几乎不可能复制,虽然造影剂对于人眼可能是不可见的,但是这种隐形的“身份证”让零件的复杂性具有了“基因”般的可追溯性。
关于产品的“身份证”,3D科学谷此前曾在Fraunhofer的futureAM项目中介绍过为了演示Fraunhofer IWU开发的用于多种材料制造的系统技术功能,Fraunhofer IWU使用了玻璃封装的RFID应答器(也称为 RFID 标签),该应答器被放置在直接位于所制造组件表面下方的空腔中,并在随后的构建过程中将其紧密封装在组件中。该应答器用于保存和读取有关制造过程或组件属性的信息。
总之,根据3D科学谷的市场判断,让产品从制造出来就自带“身份证”是数字化制造时代的大势所趋!
l 文章来源:3D科学谷市场研究团队
白皮书下载,加入3D科学谷QQ群:106477771
网站投稿请发送至2509957133@qq.com
欢迎转载,转载请注明来源3D科学谷,并链接到3D科学谷网站原文。











