3D打印之于飞机制造,3D打印好比是飞机的翅膀,帮助制造商与设计者们实现飞得更高,飞得更轻松,飞得更安全,看得更远的愿望。在这方面,GE9X已经拥有了304个通过增材制造的零件,涵盖了七大类型的3D打印零部件。在超越自身的愿景的激励下,更多的企业加入进来通过3D打印技术推进发动机超越一个又一个的极限。本期,3D科学谷与谷友共同来领略霍尼韦尔刚获得的专利中所披露的开发双壁燃烧器的细节。
涡轮风扇燃气涡轮发动机通常包括例如五个主要部分:风扇部分、压缩机部分、燃烧器部分、涡轮部分和排气部分。风扇部分通常位于发动机的入口部分,风扇将来自周围环境的空气引入发动机中并将该空气的一部分朝着压缩机部分加速。引入风扇部分的空气的其余部分被加速进入旁通气室,然后从排气部分出来。
来源:3D科学谷《3D打印与航空发动机白皮书2.0》
压缩机部分使从风扇部分接收的空气的压力升高,压缩空气然后被引导到燃烧部分。在燃烧段燃料和空气混合物在燃烧器中点燃,形成燃烧气体。
为了提高发动机效率,燃气涡轮发动机的设计者和制造不断的提高发动机内的工作温度。在这些不断升高的温度下,有效地冷却燃烧器并仍然保持足够的残余气流以控制排放和出口温度变得越来越困难。为了解决该困难,霍尼韦尔已经开发了双壁冷却方法以降低燃烧器壁的温度。
双壁冷却方法使用具有滑动接头和嵌件的常规钣金结构,这种方法已证明可以降低壁温,但也存在某些缺点。例如,它容易受到制造公差的影响,从而导致冷却或压降变化。因此,需要开发新的更加高效的用于燃烧器和其他双壁热段结构的冷却方法,降低对制造公差的敏感性。借力3D打印,霍尼韦尔开发了带双壁冷却燃烧器解决了这一需求。
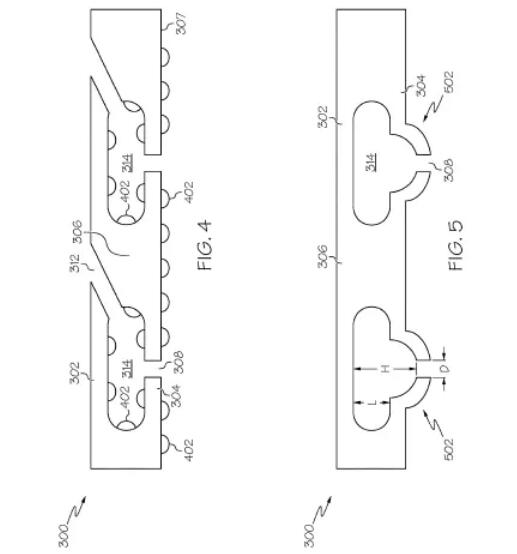
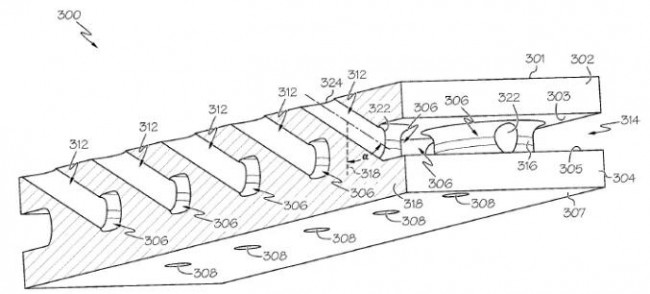
燃气涡轮发动机中实施的双壁热段结构的一部分的剖视图。来源:US10775044B2
图中双壁结构300(第一壁,第二壁和基座)是一体化的结构,使用选区激光熔化增材制造工艺来制造,双壁结构通过镍基高温合金制造,可以在形成冲击冷却孔308和喷射冷却通道312之后施加涂层和或隔热涂层。
燃气涡轮发动机中实施的双壁热段结构的一部分的剖视图。来源:US10775044B2
与常规的双壁结构不同,霍尼韦尔开发的双壁结构将冲击冷却和喷射冷却组合成单个结构。用于从热侧壁传导热量并减小热梯度,从而减轻了平面应力。这种设计还提供了最小的占地面积,相对于传统的双壁结构,潜在地减轻了重量。
每个基座具有至少一个面向居间腔的外表面,并且每个基座具有主轴线,并且绕着其主轴线延伸穿过居间腔。冲击冷却孔延伸穿过第二壁以允许冷却空气流进入居间腔。每个排出冷却通道具有入口和出口,多个基座中的每个基座并位于第一壁内表面上。每个喷射冷却通道与多个基座中的一个不同,并且相对于其相关联的主轴线以预定角度设置。
3D科学谷Review
如ACAM中国王晓燕在《3D打印助力动力装备发展报告 》提到的,为了简化理解3D打印在动力零件的应用逻辑,可以把动力装备的发展要求概括为亮点:爆发力强、安全性高。而3D打印释放了设计与制造的自由度,通过优化燃料与空气的混合比,提升动力装备的动能;另一方面,通过3D打印冷却通道或者是铜金属,提升了动力装备的快速散热性能,获得更高的安全性。
根据UTC的专利US10400674B2,UTC联合技术开发了一种新的燃气涡轮发动机的燃烧器区段的冷却燃料喷射器系统。将3D打印应用到复杂的VESL血管结构的制造。燃料喷射器系统部件内部包含了血管工程(VESL)结构,VESL结构设置在燃料喷射器系统部件的壁之间,并且VESL结构由空隙围绕,空隙被配置成用于使第二冷却流体围绕VESL结构的节点和分支通过。
不仅仅是UTC通过3 D打印获得了燃料喷射器制造的创新,根据3D科学谷的市场研究,此前GE为了平衡燃烧器的整体排放性能和热效率,将燃料喷射器的一部分通过衬里向内径延伸到燃烧气体流场中。然而,这种方法将燃料喷射器暴露在热燃烧气体中,可能会影响组件的机械寿命和导致燃料焦炭积累。根据3D科学谷的市场研究,GE通过3D打印技术改进了用于将燃料喷射器延伸到燃烧气体流场中的冷却系统。
GE于2017年1月24日获批的专利包括燃料喷射器主体,包括确定主体包括冷却通道的三维建模信息,将三维建模切分成多个切片横断层,并通过电子束融化技术将各层熔化凝固起来,从而制造出燃料喷射器主体。根据3D科学谷的市场研究,该系统包括通过燃烧室限定燃烧气流路径的衬里、通过衬里延伸的燃料喷射器开口和燃料喷射器。
正是这些积极的探索,推动了3D打印在飞机制造领域的深化,并催生了令人赞叹的应用技术。延伸阅读请参考3D科学谷发布的《3D打印发动机白皮书》,《3D打印与高温合金白皮书》。
参考来源:US10775044B2
白皮书下载,加入3D科学谷QQ群:106477771
网站投稿请发送至2509957133@qq.com
欢迎转载,转载请注明来源3D科学谷,并链接到3D科学谷网站原文。








